Антенна на крыше, полуволновой диполь длинной 12 метров, ловит много чего интересного в том числе и СИ БИ прохождения)
Собственно из SDR приемника и узнал о существовании Киевского Авторадиоканала)
Alex писал(а):qth Борщаговка?
maxim79 писал(а):Alex писал(а):qth Борщаговка?
Дом на перекрестке ул. Королева/ул.Семьи Сосниных.

Хочу себе тоже сделать 

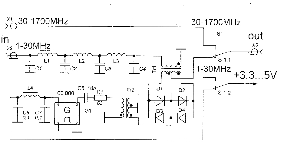
lavrenty писал(а):А схемкой конвертера не поделишься?Хочу себе тоже сделать

Вернуться в Радио+Интернет.Навигация
Сейчас этот форум просматривают: нет зарегистрированных пользователей и гости: 2